Electronic Mouse Killer

Electronic Mouse Killer 

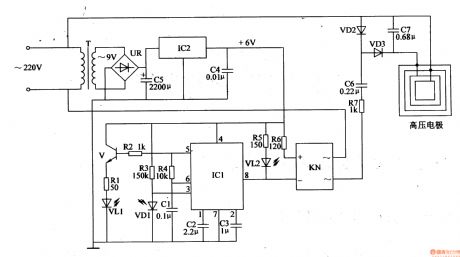
IC's 5 pin can output oscillator signal, which will drive VL1 to generate modulated infrared ray after the signal is amplified by V. When there is no mouse, VD1 receives no infrared ray, and IC1 will oscillate automatically, making 8 pin output high level. VL2 is not illuminated and KN and high voltage circuit don't work. When there is mouse in the infrare ray detecting area, VD1 will receive the reflected infrared ray and turn 8 pin's high level into low level. VL2 is illuminatedand KN begins to work. High voltage will kill the mouse. When the mouse dies, the power is cut off, making VD1 stop working. IC1's 3 pin has no input signal, and 8 pin has high level. VL2 is not illuminated and the whole circuit stops working. 
Electronic Mouse Killer (6)

About Unknown

Gallery of Free Electronic Circuits Diagrams You can find here Thousands of circuits Diagrams without any cost it's totally free with full of help and we provide you also latest circuits diagrams.

1 Comments:

  1. You know your projects stand out of the herd. There is something special about them. It seems to me all of them are really brilliant! Converter

    ReplyDelete